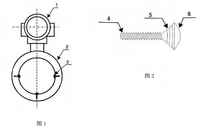
1.陀螺式電極智能電磁流量計,其特征在于包含傳感器筒體(2)、主機(1)、電極(3),主機設置在傳感器筒體上,傳感器為筒狀結構,電極為陀螺式結構,并有電極桿,電極桿上設有螺紋,電極布置在傳感器筒體內,電極杄與傳慼器筒體之間通過螺紋連接
2.陀螺式電極智能電磁流量計,其特征在于所說的電極包含電極桿(4)、電極托臺(5)、接液面(6),電極托臺與接液面一起構成陀螺結構,電極托臺與電極桿連為一體。
3.陀螺式電極智能電磁流量計,其特征在于電極桿上的螺紋旋進傳感器筒體內的內襯材料里。
4.陀螺式電極智能電磁流量計,其特征在于電極托臺的形狀為錐型,電極托臺外緣與電極桿中心線成45°角,與接液面一起構成陀螺結構
5.陀螺式電極智能電磁流量計,其特征在于電極托臺上設有若干道防水線。
陀螺式電極智能電磁流量計
所屬技術領域:陀螺式電極智能電磁流量計,屬于測量管道內液體流量的智能電磁流量計技術領域
應用背景:
目前,智能電磁流量計在液體的流量測量中得到**應用,一般組成包括主機、傳感器、電極,電極布置在傳感器筒體內,常用的智能電磁流量計電極的形狀主要有方形和圓形的等,在使用中由于密封性能不好,很容易出現向筒體內漏水等現象,同時現場使用中經常遇到管道振動等情況,此時電極容易松動,造成漏水、信號差、無法使用等情況:而且一旦出現上述情況,維護起來很困難,只能是停產維修
應用內容:
本實用新型目的是提供一種陀螺式電極智能電磁流量計,防水性能好,電極安裝牢固,解決背景技術中存在的上述問題。
本實用新型的技術方案是:陀螺式電極智能電磁流量計包含傳感器筒體、主機、電極,主機設置在傳感器筒體上,傳感器為筒狀結構,電極為陀螺式結構,并有電極桿,電極桿上設有螺紋,電極布置在傳慼器筒體內,電極杄與傳感器筒體之間通過螺紋連接所說的電極包含電極桿、電極托臺、接液面,電極托臺與接液面一起構成陀螺結構,電極托臺與電極杄連為一體;接液面是電極與被測液體接觸面電極桿上的螺紋可以旋進傳感器筒體內的內襯材料里,電極桿的長度盡量長一些電極托臺的形狀為錐型,電極托臺外緣與電極桿中心線成45°角,與接液面一起構成陀螺結構。
電極托臺上設有若干道防水線,設置防水線是為了讓內襯材料擠進其中,能更好的起到密封作用,防止通過電極向筒體內漏水造成信號差、無法正常使用等情況。
本實用新型的有益效果是:陀螺式電極專門為了防止漏水而設計的,電極本身具有一個長的電極桿,電極桿上的螺紋可以旋進傳感器筒體內的內襯材料里,一是很牢固的固定電極,使電極不會因為管道的振動而松動;二是使電極桿和內襯可以充分的接觸防止電極處漏水;電極托臺的形狀為錐型,為了使電極和內襯充分的接觸,從而防止電極漏水電極托臺上設有若干道防水線,設置防水線是為了讓內襯材料擠進其中,能更好的起到密封作用,防止通過電極向筒體內漏水造成信號差、無法正常使用等情況。
附圖說明
附圖1是本實用新型實施例的示意圖;

附圖2是本實用新型的電極結構示意圖;
圖中:主機1、傳感器筒體2、電極3、電極桿4、電極托臺5、接液面6。
具體實施方式
以下結合附圖,通過實施例對本實用新型作進一步說明
在實施例中,陀螺式電極智能電磁流量計包含傳感器筒體2、主機1、電極3,主機設置在傳感器筒體上,傳感器為筒狀結構,電極為陀螺式結構,并有電極桿4,電極桿上設有螺紋,電極布置在傳感器筒體內,電極杄與傳感器筒體之間通過螺紋連接。電極包含電極桿4、電極托臺5、接液面6,電極托臺與接液面一起構成陀螺結構,電極托臺與電極桿連為體;接液面是電極與被測液體接觸面。電極桿上的螺紋旋進傳感器筒體內的內襯材料里,電極桿的長度盡量長一些。電極托臺的形狀為錐型,電極托臺外緣與電極桿中心線成45°角,與接液面一起構成陀螺結構。
實施例中,電極桿上設有長18mm的螺紋,為了增加密封性,電極托臺上有三道防水線。具體安裝方式:首先將電極桿4從傳感器筒體2的內側直接旋進內襯里,當筒體外側露出電極桿4后,將電極桿4上裝一個0型膠圈,上面再裝一小塊絕緣板,加好絕緣板后,將電極桿4上接好線以供使用,*后上面用螺絲校緊,直到接液面6的邊緣和內襯很好的結合為止。將電極3安裝好以后,再將線圈以固定的方式安裝好,將線引出與主機1接好,*后將主機固定。
上一條:
電磁流量計在纖維素浸漬工藝中應用及常見故障
下一條:
漿液型電磁流量計在四噴嘴水煤漿氣化中的應用